专利数据库
统计分析
产业报告
专利数据监控
产业人才
行业动态
产业政策法规
维权援助
个人中心
详情
文本
图像
标题
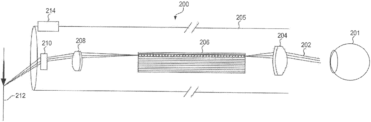
基于液体透镜技术的可变焦度内窥镜
授权日
1900-01-01
公开(公告)号
CN103384491A
申请日
2011-12-01
公开(公告)日
2013-11-06
当前申请(专利权)人
阿德伦丝必康公司
发明人
阿米塔瓦·古普塔 | 尔本·肖纳勒 | 威廉·威甘 | 莉萨·尼鲍尔 | 法兰克·斯坦奥塔 | 朱丽恩·绍韦特 | 迈克尔·圣-吉兰
简单同族
AR084502A1 | AU2011336505A1 | AU2011336505B2 | BR112013013584A2 | CA2819514A1 | CA2819514C | CN103384491A | CN103384491B | EP2645919A1 | EP2645919A4 | EP2645919B1 | HK1187226A | IL226618A | JP2013545558A | JP6031445B2 | KR101849432B1 | KR1020140001963A | MX2013006098A | MX338575B | MX343835B | PT2645919T | RU2013126208A | RU2622988C2 | SG10201509874YA | SG190420A1 | US20120143004A1 | US9795281 | WO2012075280A1 | ZA201303880B
简单同族成员数量
29
简单同族被引用专利总数
22
诉讼案件数
0
法律状态/事件
授权
抱歉,您的浏览器不支持PDF预览,请点击链接下载PDF文件