专利数据库
统计分析
产业报告
专利数据监控
产业人才
行业动态
产业政策法规
维权援助
个人中心
详情
文本
图像
标题
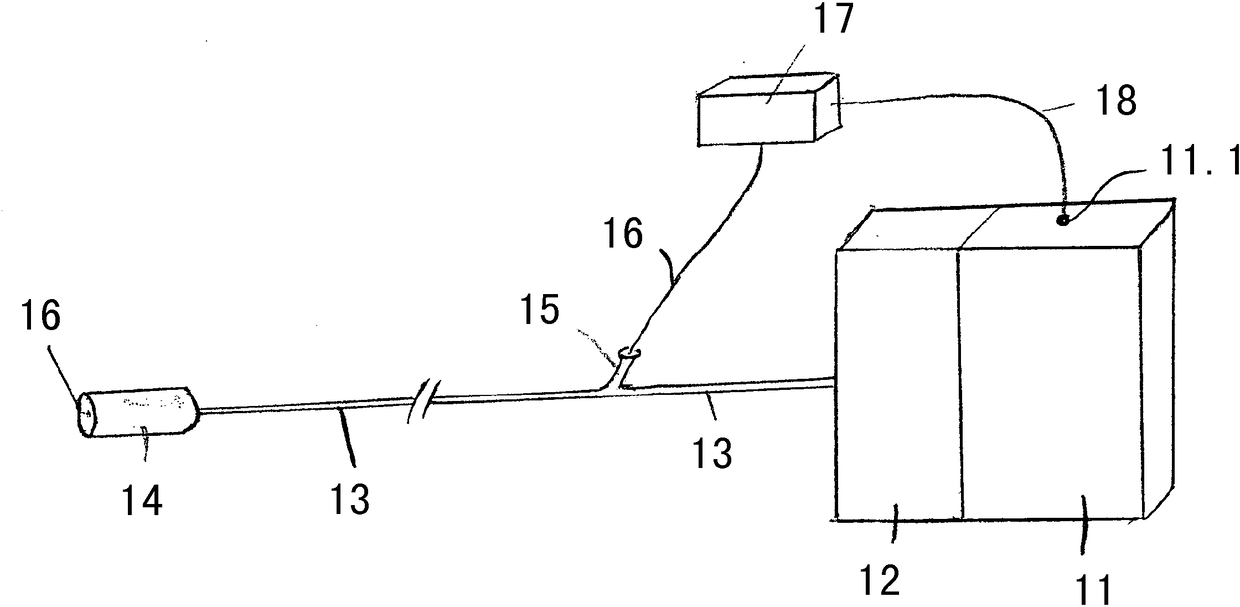
用于内窥镜真空治疗的真空系统和内窥镜-配置
授权日
1900-01-01
公开(公告)号
CN103517665A
申请日
2012-03-12
公开(公告)日
2014-01-15
当前申请(专利权)人
L&R国际有限责任及两合公司
发明人
贡纳·洛斯克
简单同族
AU2012228360A1 | AU2012228360B2 | BR112013023118A2 | CA2829512A1 | CA2829512C | CN103517665A | CN103517665B | DK2683285T3 | EP2683285A1 | EP2683285B1 | ES2534790T3 | HK1188103A | HK1188103A1 | JP2014512896A | JP2014512896A5 | JP5923122B2 | MX2013010387A | MX335821B | PL2683285T3 | RU2013145563A | RU2562680C2 | USR47285 | WO2012123414A1 | ZA201306485B
简单同族成员数量
24
简单同族被引用专利总数
28
诉讼案件数
0
法律状态/事件
授权
抱歉,您的浏览器不支持PDF预览,请点击链接下载PDF文件