专利数据库
统计分析
产业报告
专利数据监控
产业人才
行业动态
产业政策法规
维权援助
个人中心
详情
文本
图像
标题
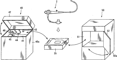
内窥镜用高温高压蒸气灭菌容器及内窥镜洗涤灭菌装置
授权日
2008-12-10
公开(公告)号
CN100441139C
申请日
2002-08-26
公开(公告)日
2008-12-10
当前申请(专利权)人
奥林巴斯株式会社
发明人
野口利昭 | 森山宏树 | 大岛龙 | 天野正一 | 石引康太 | 森下耕治 | 二木泰行 | 长谷川准 | 中川干彦 | 吉本羊介 | 田代芳夫 | 樋熊政一
简单同族
CN100441139C | CN1610517A | DE60227112D1 | EP1477106A1 | EP1477106A4 | EP1477106B1 | JP2002253477A | JP2002253648A | JP3905320B2 | US20050000553A1 | WO2004017824A1
简单同族成员数量
11
简单同族被引用专利总数
157
诉讼案件数
0
法律状态/事件
授权
抱歉,您的浏览器不支持PDF预览,请点击链接下载PDF文件