专利数据库
统计分析
产业报告
专利数据监控
产业人才
行业动态
产业政策法规
维权援助
个人中心
详情
文本
图像
标题
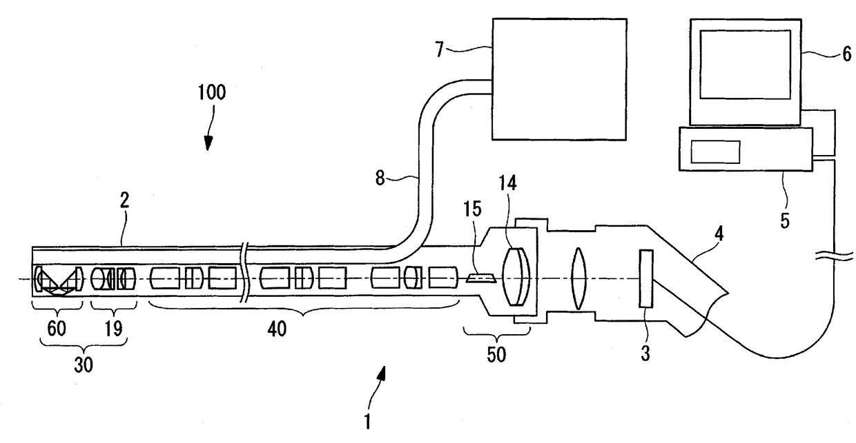
内窥镜用光学系统及内窥镜
授权日
1900-01-01
公开(公告)号
CN102282496A
申请日
2010-07-15
公开(公告)日
2011-12-14
当前申请(专利权)人
奥林巴斯株式会社
发明人
富冈诚
简单同族
CN102282496A | CN102282496B | EP2369395A1 | EP2369395A4 | EP2369395B1 | JP4746723B2 | JPWO2011013518A1 | US20110199471A1 | US8072483 | WO2011013518A1
简单同族成员数量
10
简单同族被引用专利总数
89
诉讼案件数
0
法律状态/事件
未缴年费 | 权利转移
抱歉,您的浏览器不支持PDF预览,请点击链接下载PDF文件