专利数据库
统计分析
产业报告
专利数据监控
产业人才
行业动态
产业政策法规
维权援助
个人中心
详情
文本
图像
标题
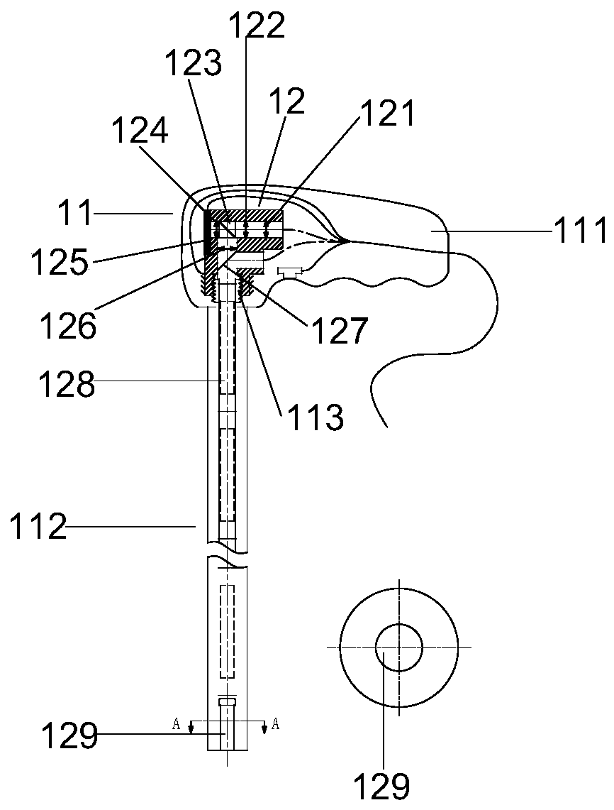
可变焦式腔体内窥镜探测装置及激光扫描腔体内窥镜
授权日
1900-01-01
公开(公告)号
CN109758098A
申请日
2019-01-31
公开(公告)日
2019-05-17
当前申请(专利权)人
北京超维景生物科技有限公司
发明人
吴润龙 | 王爱民 | 江文茂 | 吴丹磊 | 胡炎辉 | 程和平
简单同族
CN109758098A
简单同族成员数量
1
简单同族被引用专利总数
0
诉讼案件数
0
法律状态/事件
实质审查
抱歉,您的浏览器不支持PDF预览,请点击链接下载PDF文件