专利数据库
统计分析
产业报告
专利数据监控
产业人才
行业动态
产业政策法规
维权援助
个人中心
详情
文本
图像
标题
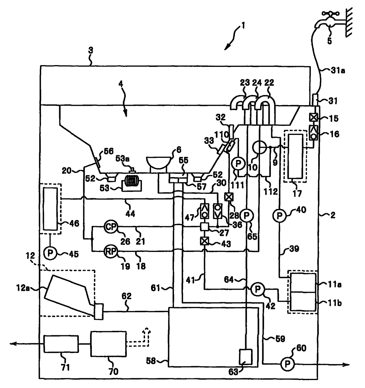
内窥镜清洗消毒装置、使用该装置的内窥镜清洗方法
授权日
2011-06-15
公开(公告)号
CN101632575B
申请日
2009-05-26
公开(公告)日
2011-06-15
当前申请(专利权)人
奥林巴斯株式会社
发明人
大西秀人 | 长谷川准 | 濑分隆太 | 富田雅彦 | 野口利昭
简单同族
CN101632575A | CN101632575B | EP2147656A1 | EP2147656B1 | EP2147656B9 | JP2010022771A | JP5127619B2 | KR101102668B1 | KR1020100011884A | US20100022839A1
简单同族成员数量
10
简单同族被引用专利总数
33
诉讼案件数
0
法律状态/事件
授权 | 权利转移
抱歉,您的浏览器不支持PDF预览,请点击链接下载PDF文件