专利数据库
统计分析
产业报告
专利数据监控
产业人才
行业动态
产业政策法规
维权援助
个人中心
详情
文本
图像
标题
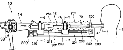
保持装置、内窥镜装置、以及内窥镜装置的操作方法
授权日
1900-01-01
公开(公告)号
CN1676092A
申请日
2005-03-31
公开(公告)日
2005-10-05
当前申请(专利权)人
富士胶片株式会社 | SRJ公司
发明人
山本博德 | 町田光则 | 上远野美纪 | 高野政由纪 | 坂本利男 | 关口正 | 藤仓哲也
简单同族
CN100355389C | CN1676092A | EP1582139A2 | EP1582139A3 | JP2006141976A | JP3922284B2 | US20050234293A1 | US7833150
简单同族成员数量
8
简单同族被引用专利总数
115
诉讼案件数
0
法律状态/事件
授权 | 权利转移
抱歉,您的浏览器不支持PDF预览,请点击链接下载PDF文件