专利数据库
统计分析
产业报告
专利数据监控
产业人才
行业动态
产业政策法规
维权援助
个人中心
详情
文本
图像
标题
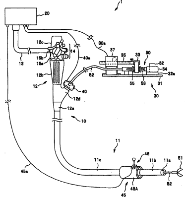
内窥镜系统、内窥镜用操作辅助装置
授权日
2010-02-03
公开(公告)号
CN100586362C
申请日
2006-11-02
公开(公告)日
2010-02-03
当前申请(专利权)人
奥林巴斯株式会社
发明人
小宫孝章 | 小贯喜生 | 仓康人 | 西家武弘
简单同族
CN100586362C | CN1957836A | EP1782744A2 | EP1782744A3 | EP1782744B1 | JP2007125180A | JP5121132B2 | US20070100201A1 | US7871371
简单同族成员数量
9
简单同族被引用专利总数
137
诉讼案件数
0
法律状态/事件
授权 | 权利转移
抱歉,您的浏览器不支持PDF预览,请点击链接下载PDF文件