专利数据库
统计分析
产业报告
专利数据监控
产业人才
行业动态
产业政策法规
维权援助
个人中心
详情
文本
图像
标题
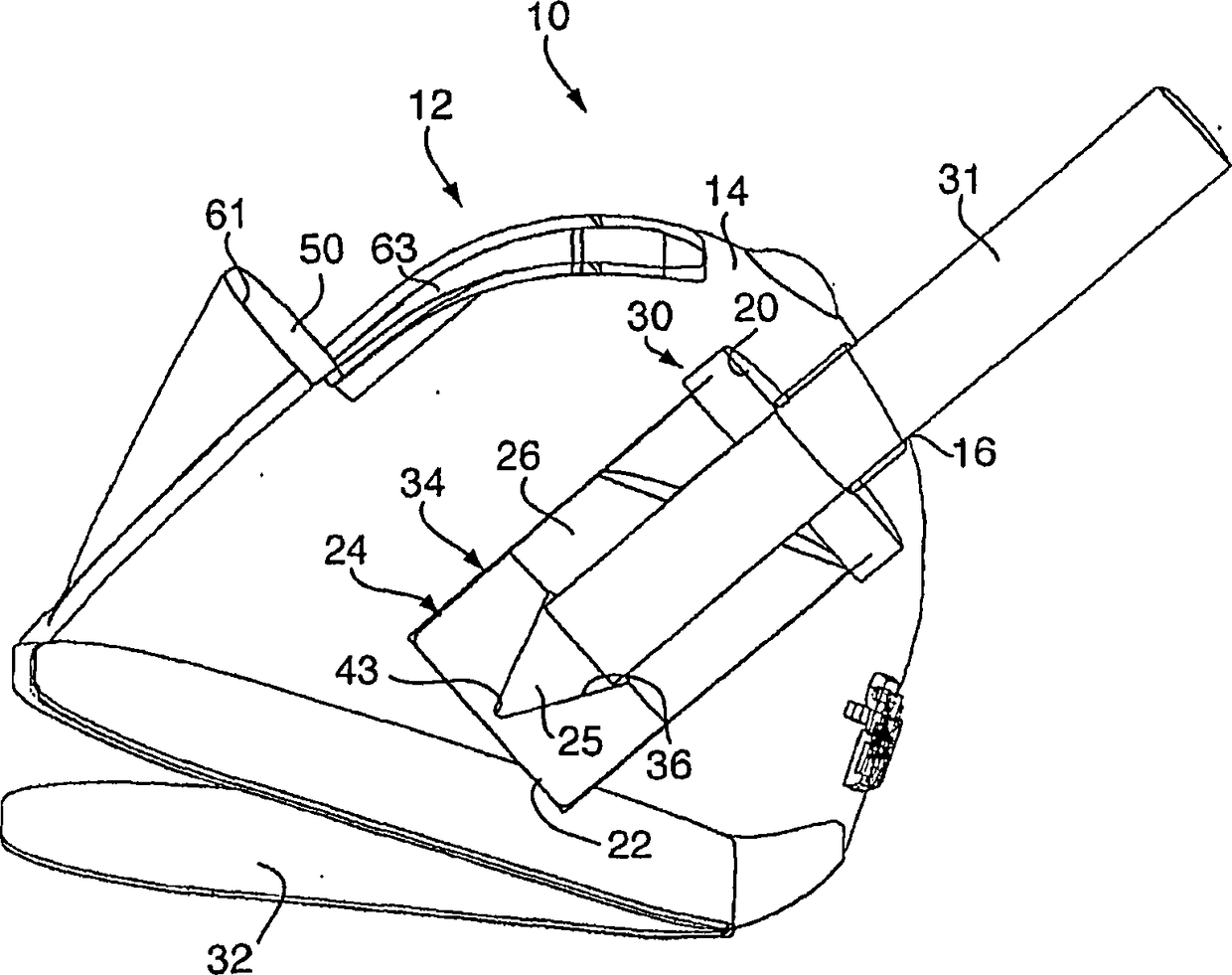
在医疗程序前对医用内窥镜白平衡以及应用防雾剂的装置
授权日
2012-10-10
公开(公告)号
CN101374452B
申请日
2007-01-29
公开(公告)日
2012-10-10
当前申请(专利权)人
科维蒂恩有限合伙公司
发明人
里卡多·亚历山大·戈麦斯
简单同族
CN101374452A | CN101374452B | EP1981390A2 | EP1981390A4 | EP1981390B1 | EP2659829A2 | EP2659829A3 | EP2659829B1 | EP3150104A1 | ES2614487T3 | JP2009525068A | JP5266065B2 | KR101250611B1 | KR1020080094080A | US20080161646A1 | US8152717 | WO2007089719A2 | WO2007089719A3
简单同族成员数量
18
简单同族被引用专利总数
92
诉讼案件数
0
法律状态/事件
授权 | 权利转移
抱歉,您的浏览器不支持PDF预览,请点击链接下载PDF文件