专利数据库
统计分析
产业报告
专利数据监控
产业人才
行业动态
产业政策法规
维权援助
个人中心
详情
文本
图像
标题
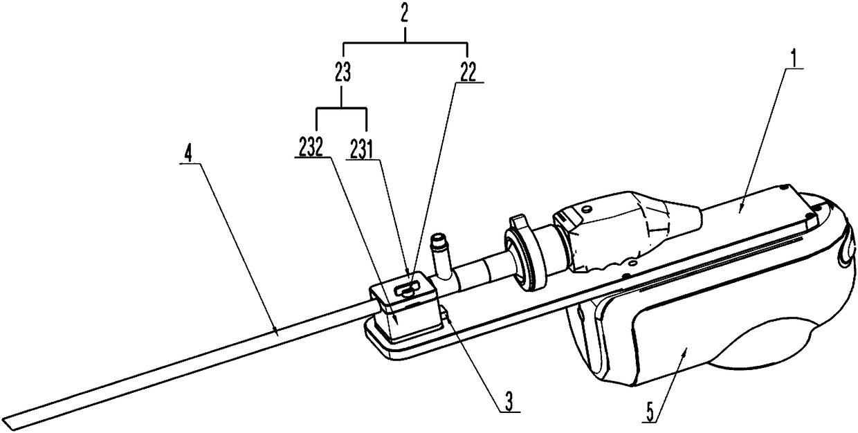
一种腹腔镜手术持镜机器人的内窥镜连接结构
授权日
1900-01-01
公开(公告)号
CN108498169A
申请日
2018-04-17
公开(公告)日
2018-09-07
当前申请(专利权)人
成都博恩思医学机器人有限公司
发明人
李志强 | 其他发明人请求不公开姓名
简单同族
CN108498169A
简单同族成员数量
1
简单同族被引用专利总数
0
诉讼案件数
0
法律状态/事件
实质审查
抱歉,您的浏览器不支持PDF预览,请点击链接下载PDF文件