专利数据库
统计分析
产业报告
专利数据监控
产业人才
行业动态
产业政策法规
维权援助
个人中心
详情
文本
图像
标题
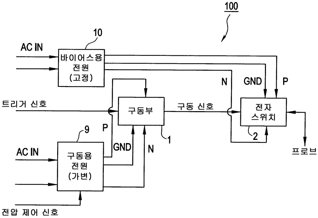
초음파 진단 장치
授权日
2008-12-23
公开(公告)号
KR100876720B1
申请日
2002-04-04
公开(公告)日
2008-12-31
当前申请(专利权)人
지이 메디컬 시스템즈 글로발 테크놀러지 캄파니 엘엘씨
发明人
AMEMIYA,SHINICHI
简单同族
CN1223310C | CN1378821A | JP2002306475A | JP4028692B2 | KR100876720B1 | KR1020020079454A | US20020165452A1 | US6752761
简单同族成员数量
8
简单同族被引用专利总数
31
诉讼案件数
0
法律状态/事件
未缴年费
抱歉,您的浏览器不支持PDF预览,请点击链接下载PDF文件