专利数据库
统计分析
产业报告
专利数据监控
产业人才
行业动态
产业政策法规
维权援助
个人中心
详情
文本
图像
标题
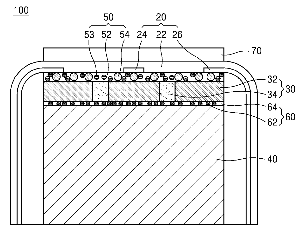
초음파 탐촉자 및 그 제조방법
授权日
1900-01-01
公开(公告)号
KR1020200010863A
申请日
2018-07-23
公开(公告)日
2020-01-31
当前申请(专利权)人
한국과학기술원
发明人
박종철 | 김태현 | 김경민 | 백경욱 | 박재형
简单同族
KR1020200010863A | KR102093248B1
简单同族成员数量
2
简单同族被引用专利总数
0
诉讼案件数
0
法律状态/事件
授权
抱歉,您的浏览器不支持PDF预览,请点击链接下载PDF文件