专利数据库
统计分析
产业报告
专利数据监控
产业人才
行业动态
产业政策法规
维权援助
个人中心
详情
文本
图像
标题
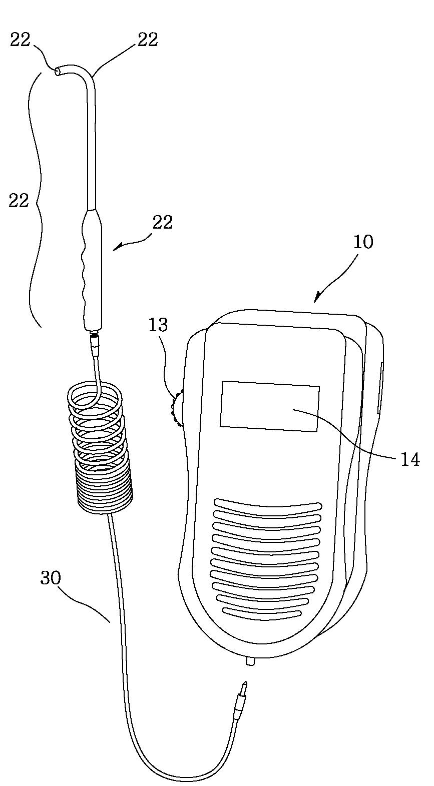
치핵 동맥 측정장치
授权日
2012-02-07
公开(公告)号
KR101115966B1
申请日
2010-06-24
公开(公告)日
2012-02-22
当前申请(专利权)人
강동완
发明人
KANG, DONG WAN
简单同族
KR101115966B1 | KR1020110139807A
简单同族成员数量
2
简单同族被引用专利总数
0
诉讼案件数
0
法律状态/事件
未缴年费
抱歉,您的浏览器不支持PDF预览,请点击链接下载PDF文件