专利数据库
统计分析
产业报告
专利数据监控
产业人才
行业动态
产业政策法规
维权援助
个人中心
详情
文本
图像
标题
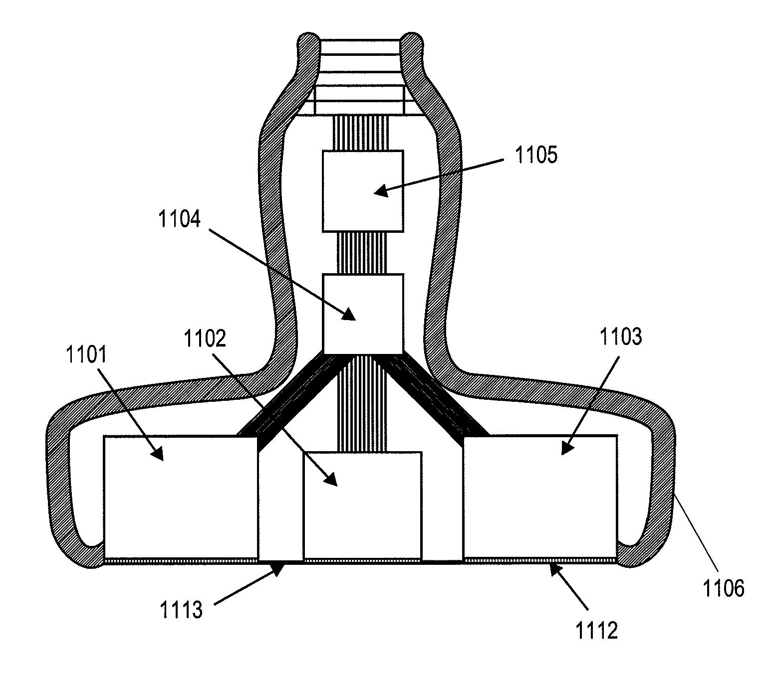
범용 복수 개구 의료용 초음파 프로브
授权日
1900-01-01
公开(公告)号
KR1020110137829A
申请日
2010-04-14
公开(公告)日
2011-12-23
当前申请(专利权)人
마우이 이미징, 인코포레이티드
发明人
스미스,데이비드,엠. | 아담,쉐론,엘. | 스펙트,도날드,에프. | 룬스포드,존,피. | 브루어,케네쓰,디.
简单同族
EP2419023A2 | EP2419023A4 | JP2012523920A | JP2012523920A5 | KR1020110137829A | US20100262013A1 | US20150045668A1 | WO2010120913A2 | WO2010120913A3
简单同族成员数量
9
简单同族被引用专利总数
85
诉讼案件数
0
法律状态/事件
撤回
抱歉,您的浏览器不支持PDF预览,请点击链接下载PDF文件