专利数据库
统计分析
产业报告
专利数据监控
产业人才
行业动态
产业政策法规
维权援助
个人中心
详情
文本
图像
标题
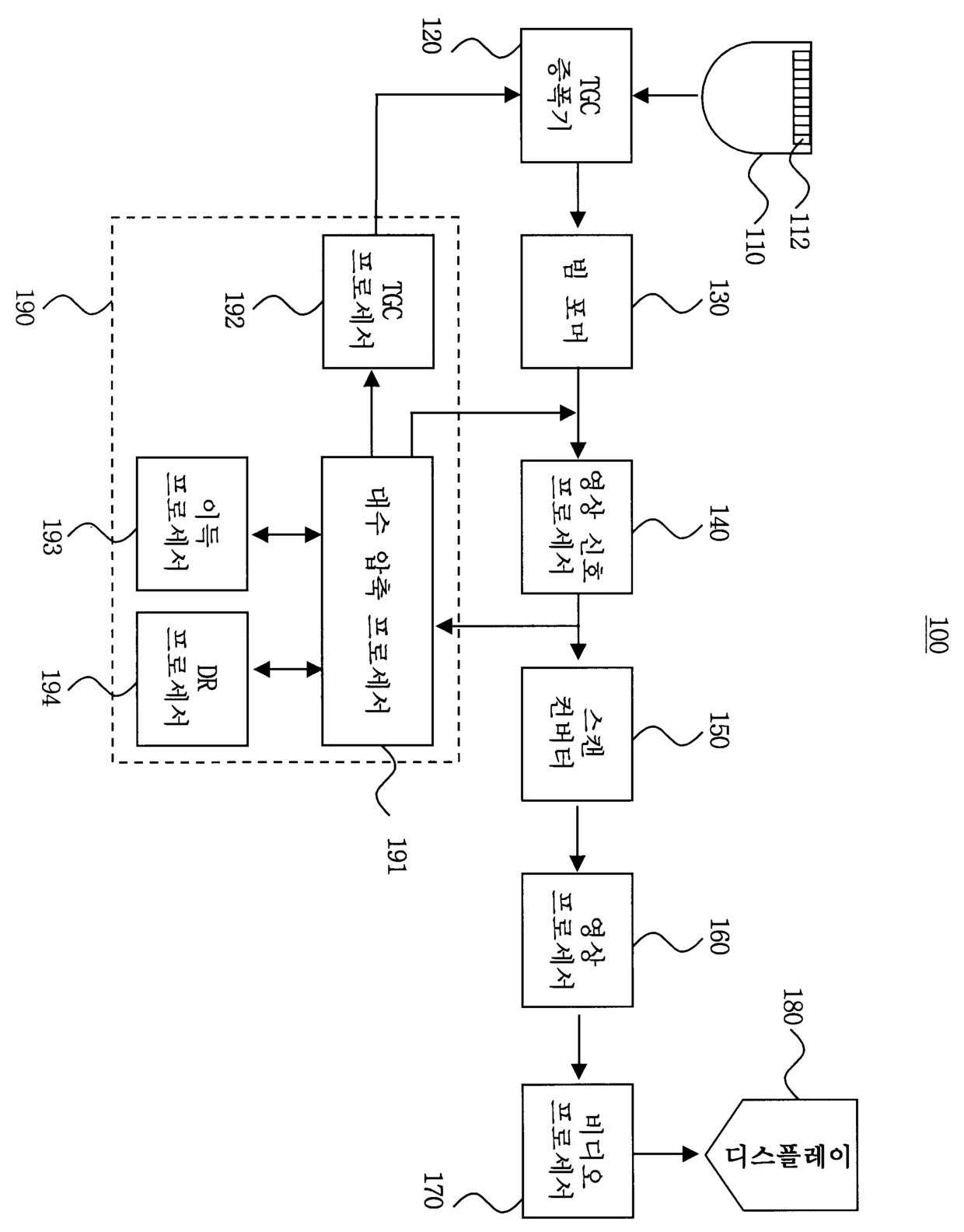
영상의 화질을 개선시키는 영상 처리 시스템 및 방법
授权日
2007-08-07
公开(公告)号
KR100748858B1
申请日
2005-11-24
公开(公告)日
2007-08-13
当前申请(专利权)人
삼성메디슨 주식회사 | 한국과학기술원
发明人
안치영 | 나종범 | 김용선 | 이덕운
简单同族
DE602006002706D1 | EP1793343A1 | EP1793343B1 | JP2007144181A | JP4891038B2 | KR100748858B1 | KR1020070054820A | US20070165925A1 | US7833159
简单同族成员数量
9
简单同族被引用专利总数
35
诉讼案件数
0
法律状态/事件
授权
抱歉,您的浏览器不支持PDF预览,请点击链接下载PDF文件