专利数据库
统计分析
产业报告
专利数据监控
产业人才
行业动态
产业政策法规
维权援助
个人中心
详情
文本
图像
标题
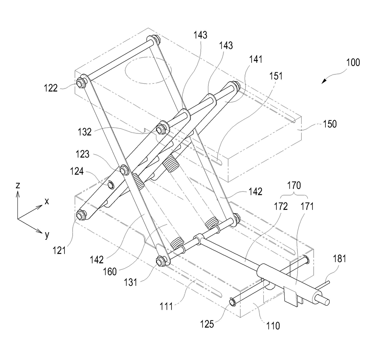
교차 링크를 이용한 패널 지지장치
授权日
1900-01-01
公开(公告)号
KR1020090081040A
申请日
2008-01-23
公开(公告)日
2009-07-28
当前申请(专利权)人
삼성메디슨 주식회사
发明人
오동준 | 김순덕 | 김기영
简单同族
KR1020090081040A
简单同族成员数量
1
简单同族被引用专利总数
0
诉讼案件数
0
法律状态/事件
撤回
抱歉,您的浏览器不支持PDF预览,请点击链接下载PDF文件