专利数据库
统计分析
产业报告
专利数据监控
产业人才
行业动态
产业政策法规
维权援助
个人中心
详情
文本
图像
标题
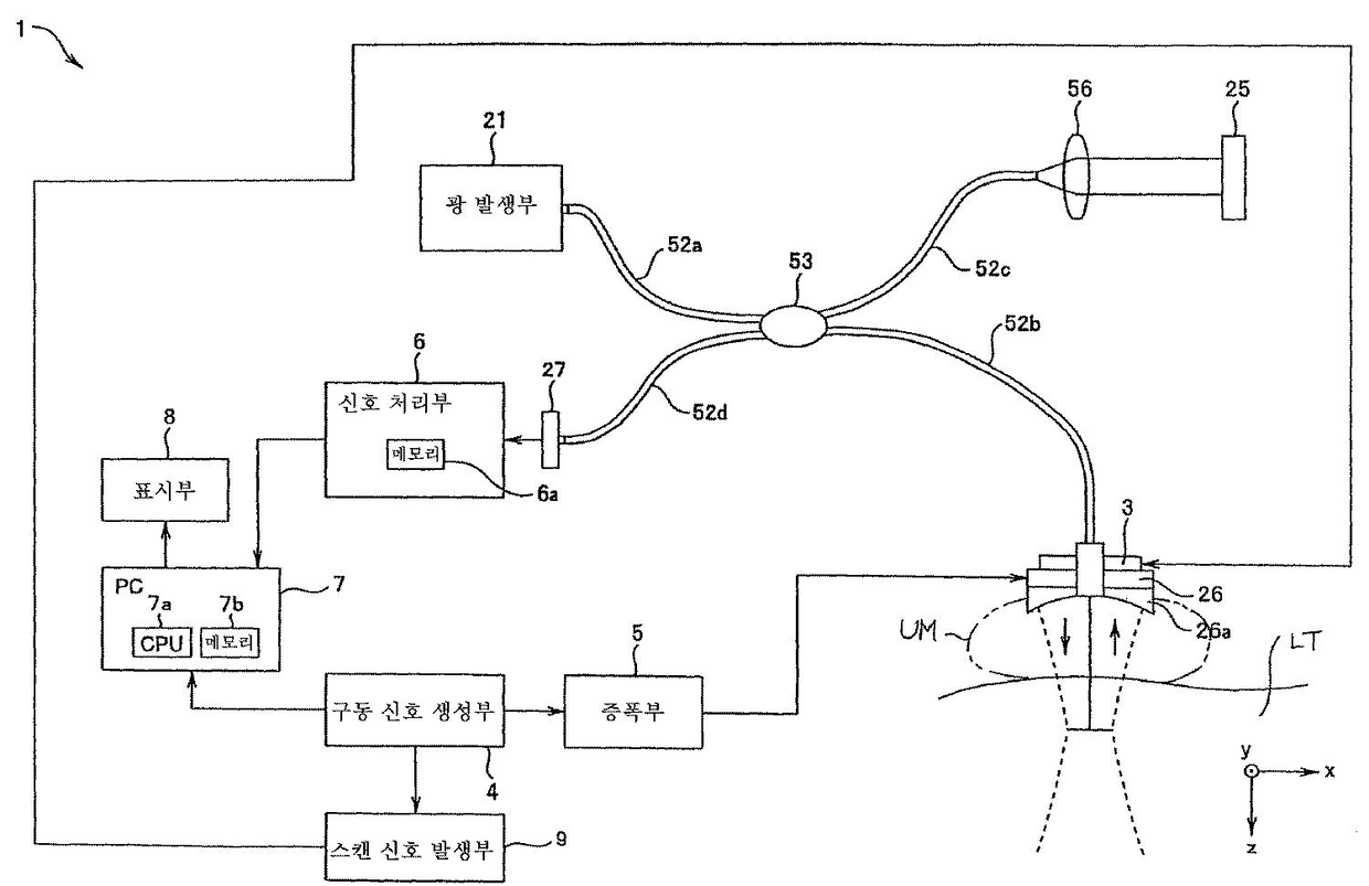
생체 관측 장치 및 방법
授权日
1900-01-01
公开(公告)号
KR1020090091673A
申请日
2009-02-25
公开(公告)日
2009-08-28
当前申请(专利权)人
올림푸스 메디칼 시스템즈 가부시키가이샤
发明人
IGARASHI, MAKOTO
简单同族
CN101518440A | EP2092878A1 | EP2092878B1 | JP2009195617A | JP5192846B2 | KR1020090091673A | US20090221911A1 | US8447388
简单同族成员数量
8
简单同族被引用专利总数
18
诉讼案件数
0
法律状态/事件
撤回
抱歉,您的浏览器不支持PDF预览,请点击链接下载PDF文件