专利数据库
统计分析
产业报告
专利数据监控
产业人才
行业动态
产业政策法规
维权援助
个人中心
详情
文本
图像
标题
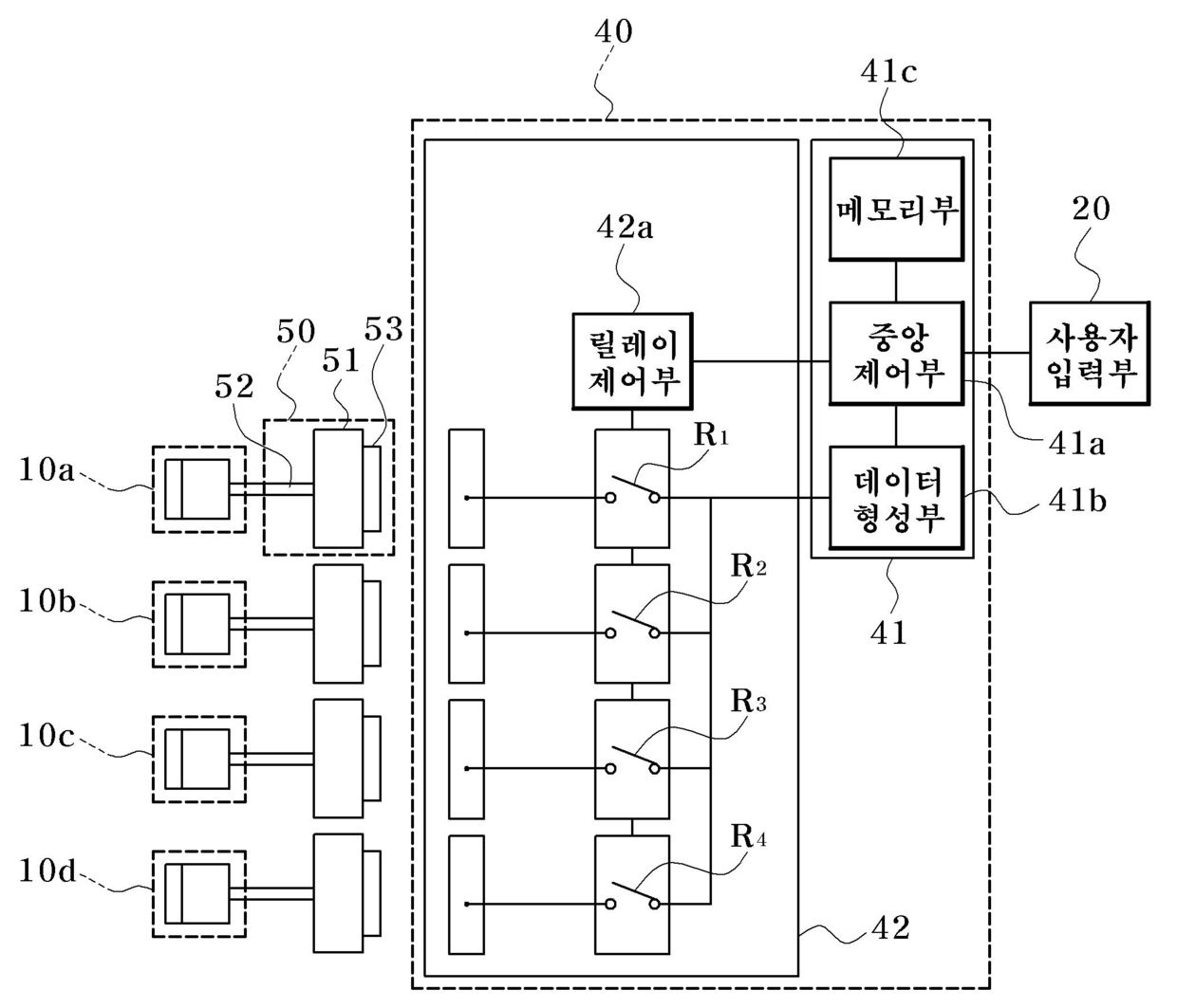
독립적으로 프로브 변경이 가능한 초음파 시스템 및 그 제어방법
授权日
2011-04-18
公开(公告)号
KR101031011B1
申请日
2008-11-10
公开(公告)日
2011-04-25
当前申请(专利权)人
삼성메디슨 주식회사
发明人
정진우 | 서정철
简单同族
KR101031011B1 | KR1020100051941A
简单同族成员数量
2
简单同族被引用专利总数
0
诉讼案件数
0
法律状态/事件
未缴年费
抱歉,您的浏览器不支持PDF预览,请点击链接下载PDF文件