专利数据库
统计分析
产业报告
专利数据监控
产业人才
行业动态
产业政策法规
维权援助
个人中心
详情
文本
图像
标题
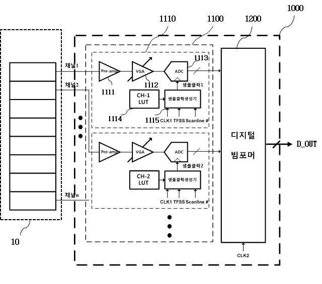
발명의 명칭 단일 칩 형태의 초음파 영상기기용 수신단 회로
授权日
2016-06-29
公开(公告)号
KR101636234B1
申请日
2015-01-07
公开(公告)日
2016-07-05
当前申请(专利权)人
포항공과대학교 산학협력단
发明人
박홍준 | 조성은 | 엄지용
简单同族
KR101636234B1
简单同族成员数量
1
简单同族被引用专利总数
0
诉讼案件数
0
法律状态/事件
授权
抱歉,您的浏览器不支持PDF预览,请点击链接下载PDF文件