专利数据库
统计分析
产业报告
专利数据监控
产业人才
行业动态
产业政策法规
维权援助
个人中心
详情
文本
图像
标题
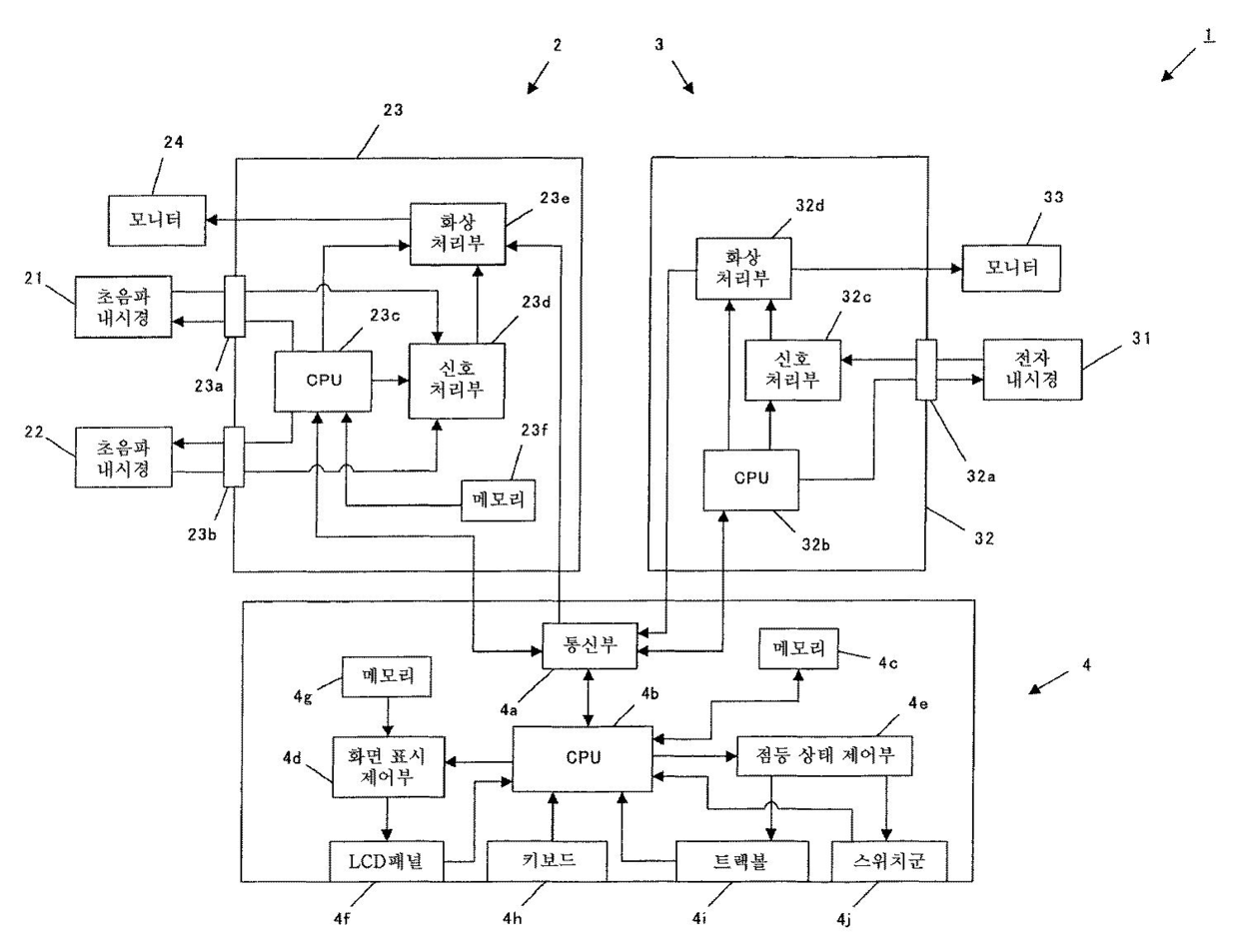
시스템 컨트롤러
授权日
1900-01-01
公开(公告)号
KR1020080088344A
申请日
2007-11-20
公开(公告)日
2008-10-02
当前申请(专利权)人
올림푸스 메디칼 시스템즈 가부시키가이샤
发明人
HIBI, YASUSHI
简单同族
AU2008200010A1 | AU2008200010B2 | CA2618909A1 | CA2618909C | CN101273905A | CN101273905B | CN201253222Y | EP1975826A2 | EP1975826A3 | JP2008245789A | JP4951382B2 | KR100946826B1 | KR1020080088344A | US20080242983A1
简单同族成员数量
14
简单同族被引用专利总数
35
诉讼案件数
0
法律状态/事件
未缴年费
抱歉,您的浏览器不支持PDF预览,请点击链接下载PDF文件