专利数据库
统计分析
产业报告
专利数据监控
产业人才
行业动态
产业政策法规
维权援助
个人中心
详情
文本
图像
标题
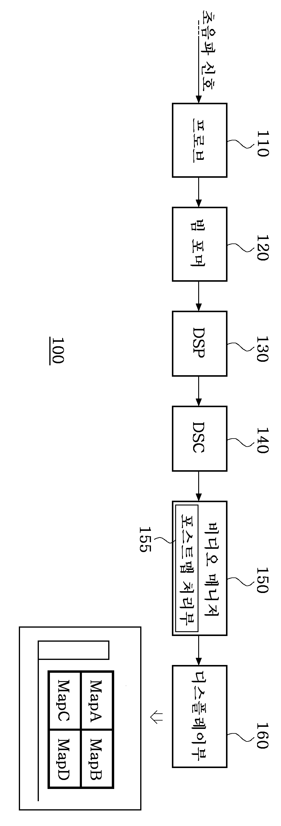
초음파 진단장치 및 이를 이용한 초음파영상 디스플레이방법
授权日
2007-04-26
公开(公告)号
KR100714317B1
申请日
2005-10-04
公开(公告)日
2007-06-08
当前申请(专利权)人
삼성메디슨 주식회사
发明人
KIM, SUNG NAM
简单同族
KR100714317B1 | KR1020070037804A
简单同族成员数量
2
简单同族被引用专利总数
0
诉讼案件数
0
法律状态/事件
授权
抱歉,您的浏览器不支持PDF预览,请点击链接下载PDF文件