专利数据库
统计分析
产业报告
专利数据监控
产业人才
行业动态
产业政策法规
维权援助
个人中心
详情
文本
图像
标题
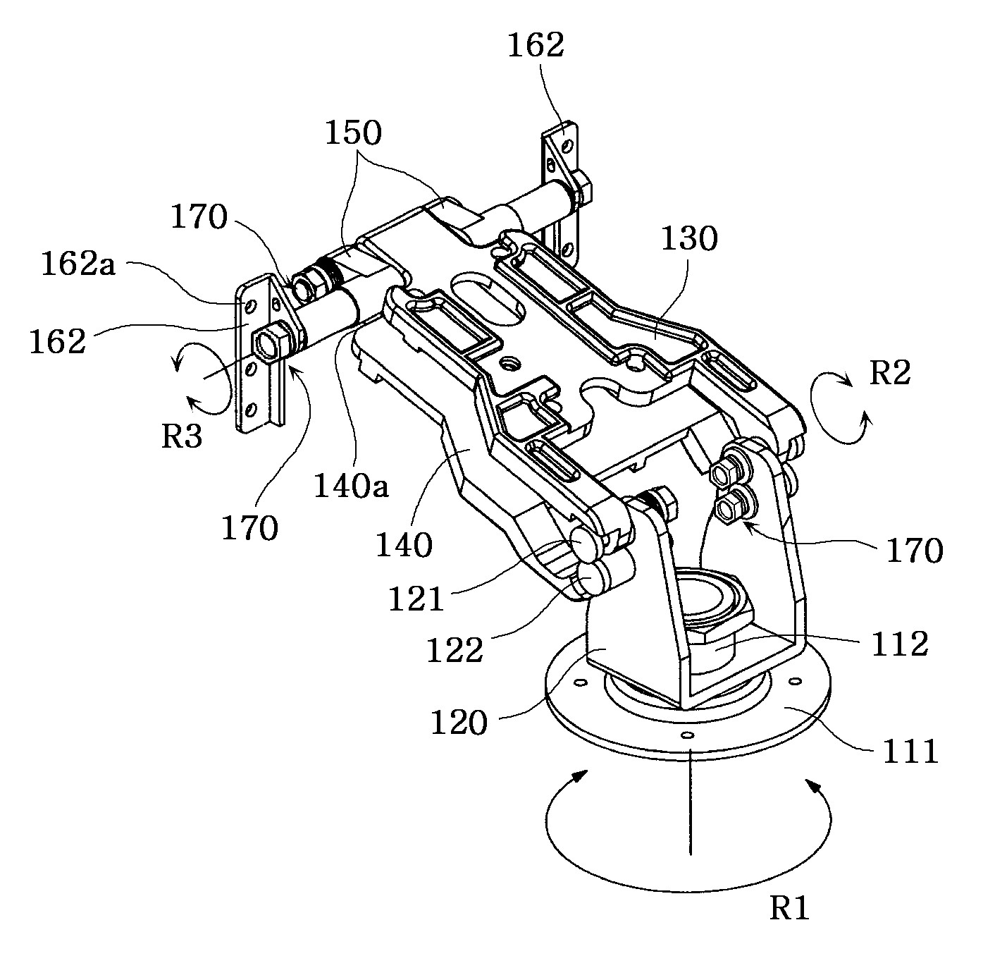
초음파 진단 장치의 모니터를 지지하기 위한 4관절형 지지조립체
授权日
1900-01-01
公开(公告)号
KR1020070014536A
申请日
2005-07-29
公开(公告)日
2007-02-01
当前申请(专利权)人
삼성메디슨 주식회사
发明人
김기영 | 이선기
简单同族
EP1747764A2 | EP1747764A3 | JP2007037981A | KR100880123B1 | KR1020070014536A | US20070023598A1 | US7448583
简单同族成员数量
7
简单同族被引用专利总数
35
诉讼案件数
0
法律状态/事件
授权
抱歉,您的浏览器不支持PDF预览,请点击链接下载PDF文件