专利数据库
统计分析
产业报告
专利数据监控
产业人才
行业动态
产业政策法规
维权援助
个人中心
详情
文本
图像
标题
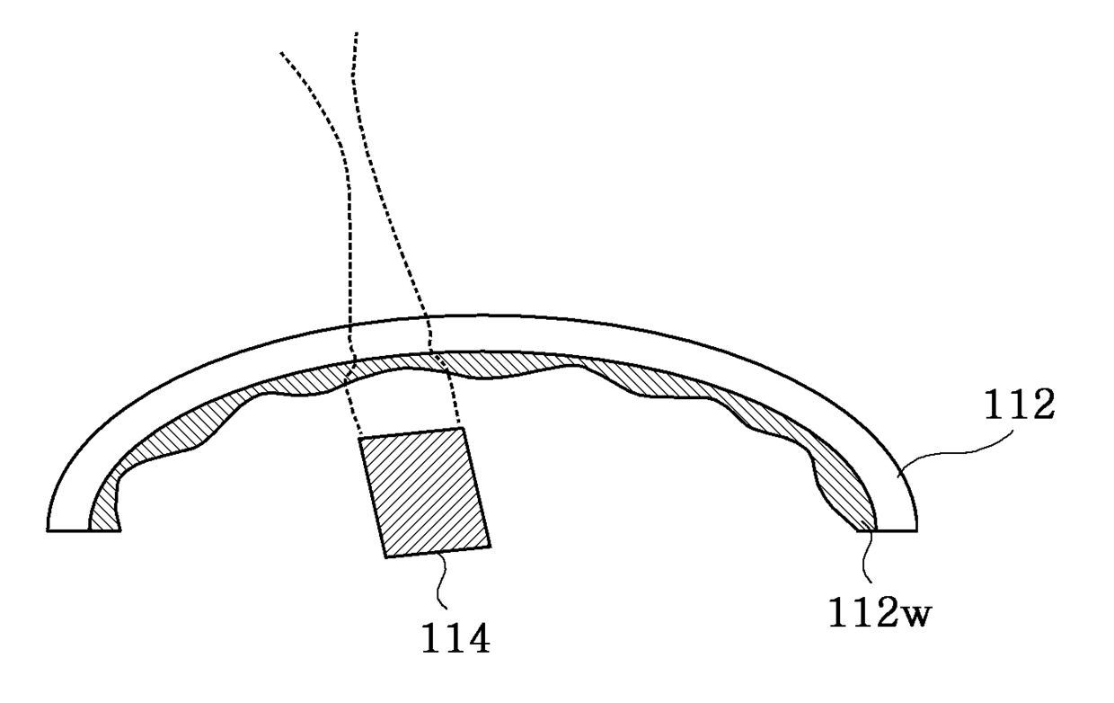
웨이브층이 형성된 멤브레인을 구비하는 프로브를 포함하는초음파 진단장치
授权日
1900-01-01
公开(公告)号
KR1020070036260A
申请日
2005-09-29
公开(公告)日
2007-04-03
当前申请(专利权)人
삼성메디슨 주식회사
发明人
MOON, CHANG HO
简单同族
KR1020070036260A
简单同族成员数量
1
简单同族被引用专利总数
0
诉讼案件数
0
法律状态/事件
撤回
抱歉,您的浏览器不支持PDF预览,请点击链接下载PDF文件