专利数据库
统计分析
产业报告
专利数据监控
产业人才
行业动态
产业政策法规
维权援助
个人中心
详情
文本
图像
标题
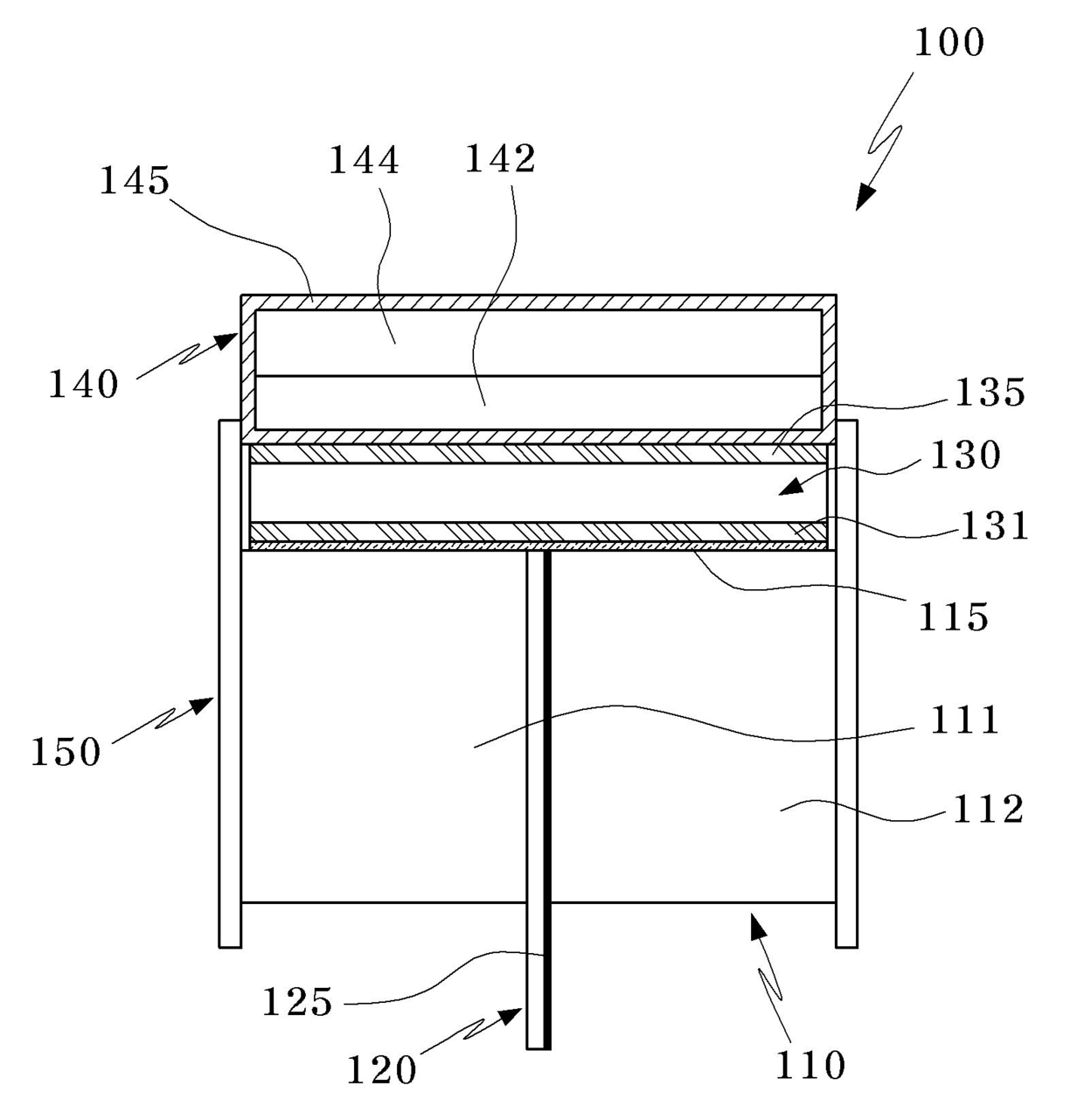
초음파 진단장치용 프로브 및 그 제조방법
授权日
1900-01-01
公开(公告)号
KR1020100104534A
申请日
2009-03-18
公开(公告)日
2010-09-29
当前申请(专利权)人
삼성메디슨 주식회사
发明人
정진우 | 서정철 | 김재익
简单同族
EP2230029A1 | JP2010214116A | KR101137261B1 | KR1020100104534A | US20100241003A1 | US9073086
简单同族成员数量
6
简单同族被引用专利总数
23
诉讼案件数
0
法律状态/事件
授权
抱歉,您的浏览器不支持PDF预览,请点击链接下载PDF文件