专利数据库
统计分析
产业报告
专利数据监控
产业人才
行业动态
产业政策法规
维权援助
个人中心
详情
文本
图像
标题
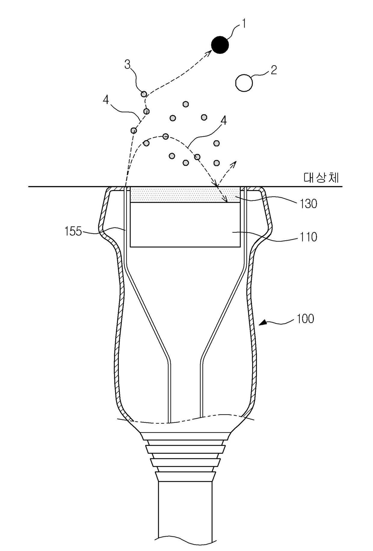
발명의 명칭 광음향 프로브 및 이를 포함하는 광음향 장치
授权日
2015-06-02
公开(公告)号
KR101526905B1
申请日
2015-02-16
公开(公告)日
2015-06-09
当前申请(专利权)人
삼성전자주식회사 | 삼성메디슨 주식회사
发明人
오정택 | 김정호 | 정종규
简单同族
KR101526905B1 | KR1020150035850A
简单同族成员数量
2
简单同族被引用专利总数
0
诉讼案件数
0
法律状态/事件
授权
抱歉,您的浏览器不支持PDF预览,请点击链接下载PDF文件