专利数据库
统计分析
产业报告
专利数据监控
产业人才
行业动态
产业政策法规
维权援助
个人中心
详情
文本
图像
标题
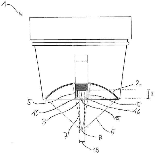
차폐 요소를 구비하는 영상화 변환기를 포함하는 초음파 프로브 헤드
授权日
2018-04-10
公开(公告)号
KR101849419B1
申请日
2011-06-07
公开(公告)日
2018-04-16
当前申请(专利权)人
테라끌리옹 에스에이
发明人
라코스테프랑수아
简单同族
CN102939131A | CN102939131B | EP2397188A1 | EP2582431A1 | EP2582431B1 | KR101849419B1 | KR1020130133121A | US20130150715A1 | US9687682 | WO2011157598A1
简单同族成员数量
10
简单同族被引用专利总数
20
诉讼案件数
0
法律状态/事件
授权
抱歉,您的浏览器不支持PDF预览,请点击链接下载PDF文件