专利数据库
统计分析
产业报告
专利数据监控
产业人才
行业动态
产业政策法规
维权援助
个人中心
详情
文本
图像
标题
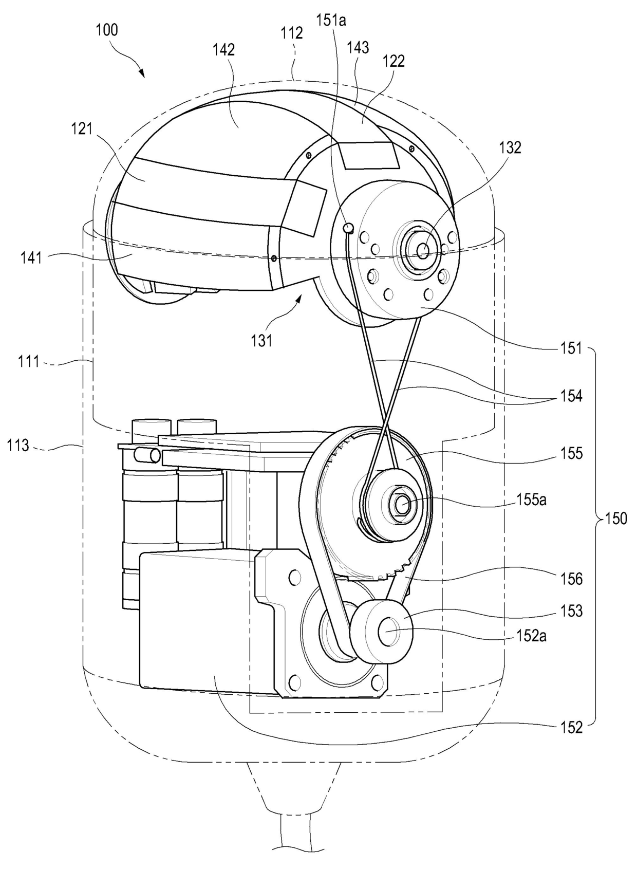
발명의 명칭 초음파프로브
授权日
2013-05-30
公开(公告)号
KR101271847B1
申请日
2010-12-16
公开(公告)日
2013-06-07
当前申请(专利权)人
삼성메디슨 주식회사
发明人
송은홍
简单同族
KR101271847B1 | KR1020120067526A
简单同族成员数量
2
简单同族被引用专利总数
0
诉讼案件数
0
法律状态/事件
授权
抱歉,您的浏览器不支持PDF预览,请点击链接下载PDF文件