专利数据库
统计分析
产业报告
专利数据监控
产业人才
行业动态
产业政策法规
维权援助
个人中心
详情
文本
图像
标题
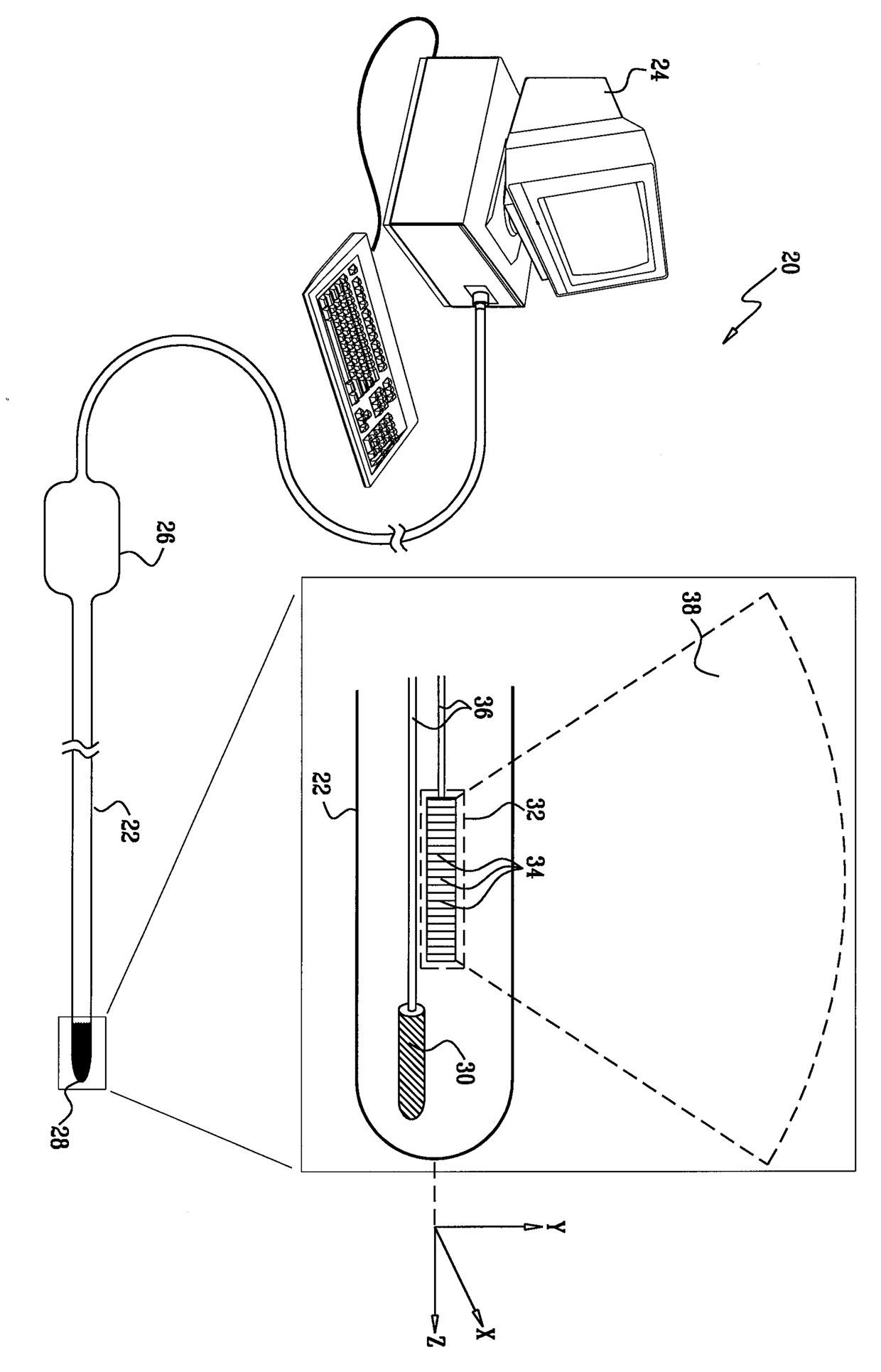
초음파 카테터 보정을 위한 표적 및 방법
授权日
1900-01-01
公开(公告)号
KR1020070045919A
申请日
2006-10-18
公开(公告)日
2007-05-02
当前申请(专利权)人
바이오센스 웹스터 인코포레이티드
发明人
알트만,안드레아클라우디오 | 고바리아사프
简单同族
AT409003T | AU2006233219A1 | AU2006233219B2 | BRPI0604375A2 | CA2565520A1 | CA2565520C | CN101004405A | CN101004405B | DE602006002857D1 | DK1779786T3 | EP1779786A1 | EP1779786B1 | ES2313580T3 | IL178912A | IL178912D0 | JP2007117747A | JP5188695B2 | KR1020070045919A | MXPA06012514A | PL1779786T3 | PT1779786E | US20070106156A1 | US7874987
简单同族成员数量
23
简单同族被引用专利总数
36
诉讼案件数
0
法律状态/事件
撤回
抱歉,您的浏览器不支持PDF预览,请点击链接下载PDF文件