专利数据库
统计分析
产业报告
专利数据监控
产业人才
行业动态
产业政策法规
维权援助
个人中心
详情
文本
图像
标题
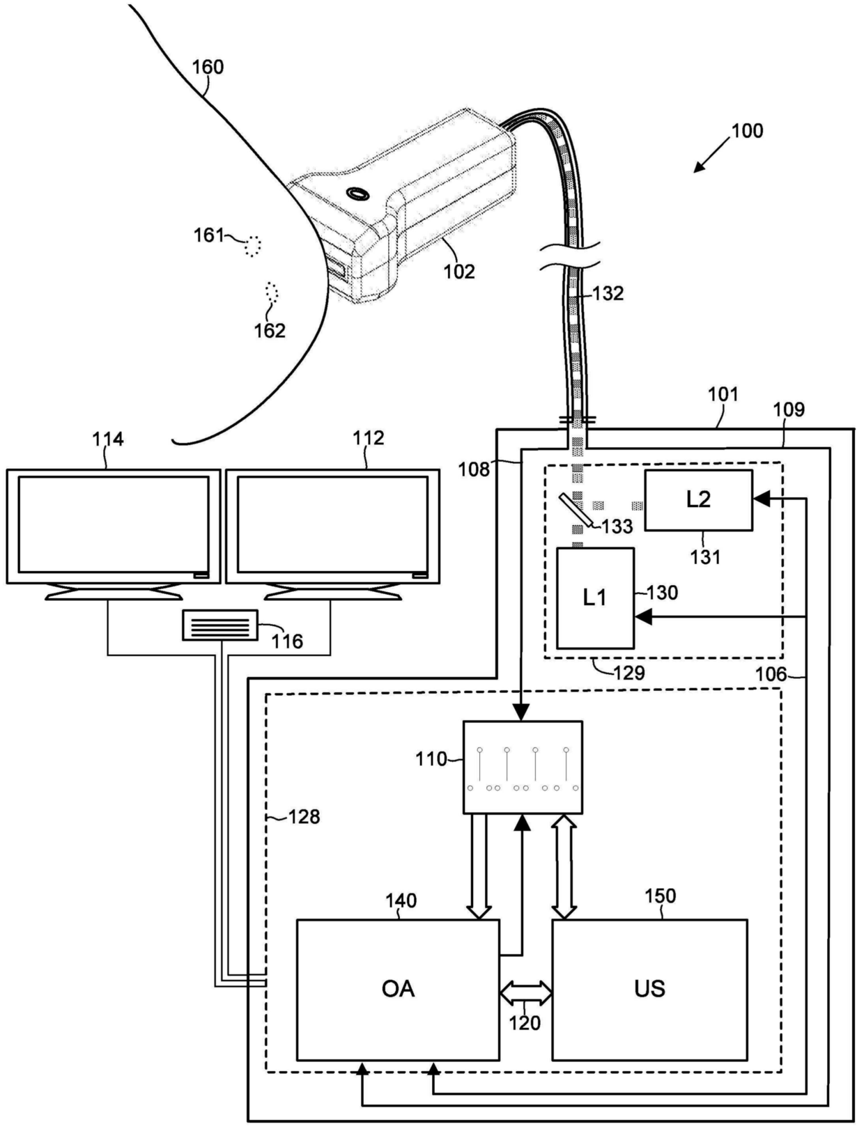
발명의 명칭 광음향 데이터를 획득하며 그것의 파라메트릭 맵들을 생성하기 위한 시스템 및 방법
授权日
1900-01-01
公开(公告)号
KR1020140084065A
申请日
2012-10-12
公开(公告)日
2014-07-04
当前申请(专利权)人
세노 메디컬 인스투르먼츠 인코포레이티드
发明人
클링먼브라이언 | 자레브제이슨
简单同族
AU2012322020A1 | AU2012322020A2 | CA2851624A1 | EP2766851A2 | EP2766851A4 | EP2766851B1 | HK1200561A | IL232014D0 | JP2015501175A | JP6479471B2 | KR1020140084065A | KR102090840B1 | MX2014004484A | SG11201401451RA | WO2013056089A2 | WO2013056089A3
简单同族成员数量
16
简单同族被引用专利总数
18
诉讼案件数
0
法律状态/事件
授权
抱歉,您的浏览器不支持PDF预览,请点击链接下载PDF文件