专利数据库
统计分析
产业报告
专利数据监控
产业人才
行业动态
产业政策法规
维权援助
个人中心
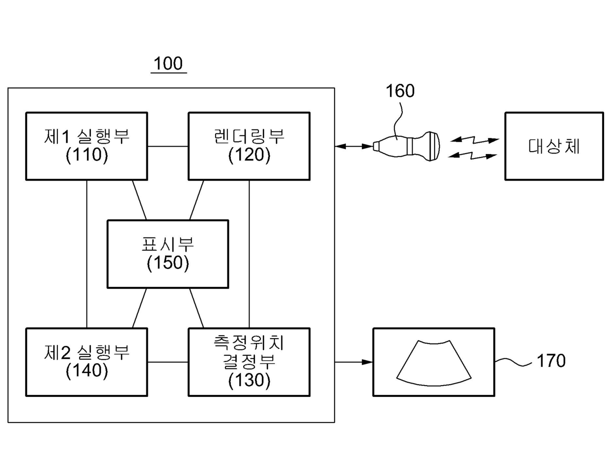
详情
文本
图像
标题
초음파 3D 볼륨 이미지를 이용한 도플러 스펙트럼 영상 생성 방법 및 상기 방법을 수행하는 초음파 진단 시스템
授权日
1900-01-01
公开(公告)号
KR1020110044812A
申请日
2009-10-21
公开(公告)日
2011-05-02
当前申请(专利权)人
삼성메디슨 주식회사
发明人
황윤연 | 김범규
简单同族
KR101066221B1 | KR1020110044812A
简单同族成员数量
2
简单同族被引用专利总数
0
诉讼案件数
0
法律状态/事件
授权
抱歉,您的浏览器不支持PDF预览,请点击链接下载PDF文件