专利数据库
统计分析
产业报告
专利数据监控
产业人才
行业动态
产业政策法规
维权援助
个人中心
详情
文本
图像
标题
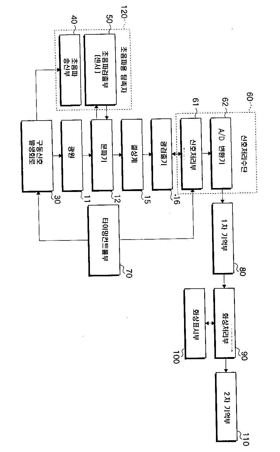
초음파용 탐촉자 및 그것을 이용한 초음파 진단장치
授权日
1900-01-01
公开(公告)号
KR1020010100924A
申请日
2001-04-28
公开(公告)日
2001-11-14
当前申请(专利权)人
후지필름 가부시키가이샤
发明人
OGAWA,EIJI
简单同族
CN1252468C | CN1321888A | EP1152240A2 | EP1152240A3 | KR100799964B1 | KR1020010100924A | US20010039836A1 | US6609425
简单同族成员数量
8
简单同族被引用专利总数
89
诉讼案件数
0
法律状态/事件
未缴年费
抱歉,您的浏览器不支持PDF预览,请点击链接下载PDF文件