专利数据库
统计分析
产业报告
专利数据监控
产业人才
行业动态
产业政策法规
维权援助
个人中心
详情
文本
图像
标题
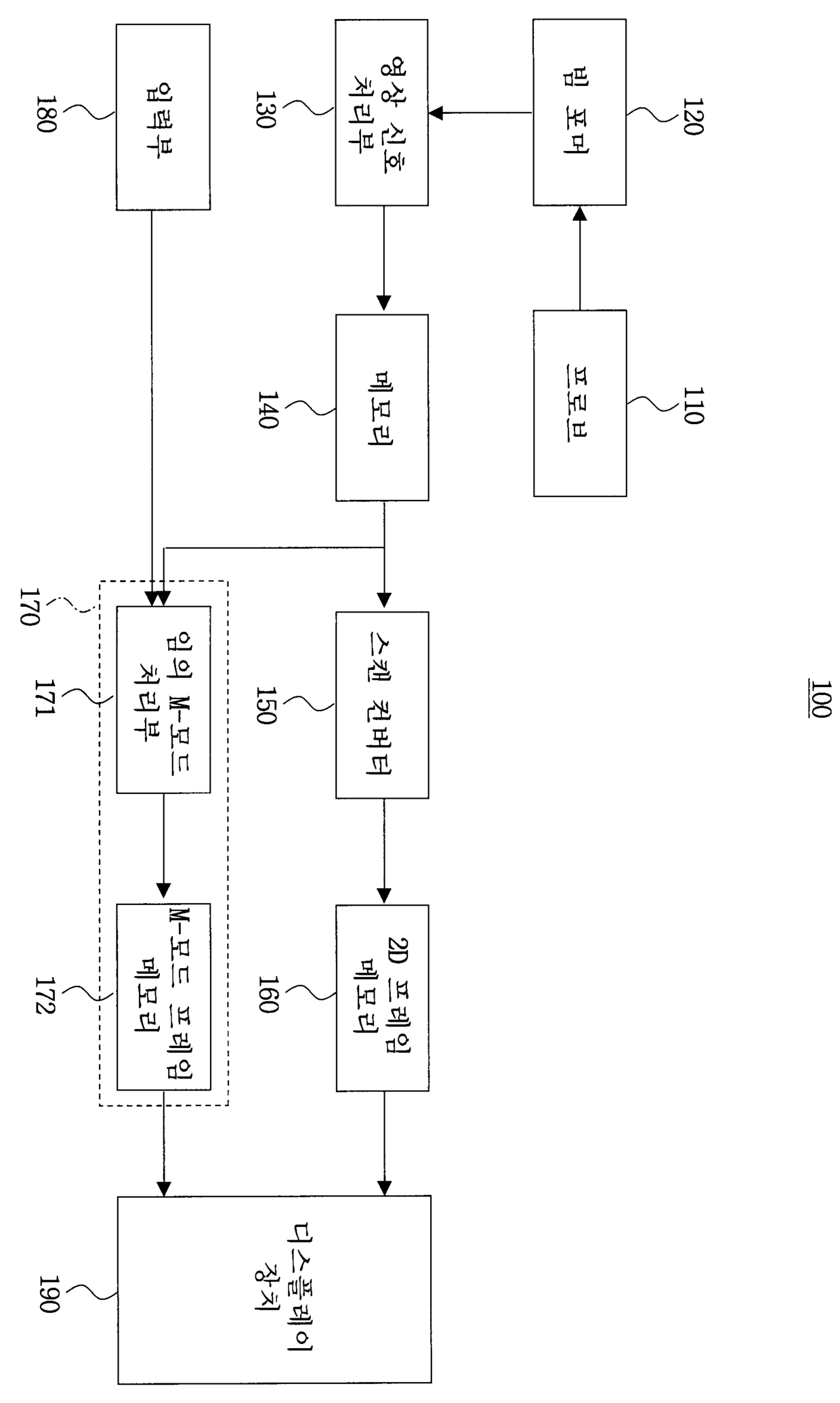
임의 M-모드 영상을 디스플레이하는 초음파 진단 시스템및 방법
授权日
2007-08-03
公开(公告)号
KR100748178B1
申请日
2005-01-05
公开(公告)日
2007-08-09
当前申请(专利权)人
삼성메디슨 주식회사
发明人
KIM,JEONGHWAN
简单同族
EP1679038A2 | EP1679038A3 | JP2006187594A | KR100748178B1 | KR1020060080346A | US20060173327A1
简单同族成员数量
6
简单同族被引用专利总数
44
诉讼案件数
0
法律状态/事件
授权
抱歉,您的浏览器不支持PDF预览,请点击链接下载PDF文件