专利数据库
统计分析
产业报告
专利数据监控
产业人才
行业动态
产业政策法规
维权援助
个人中心
详情
文本
图像
标题
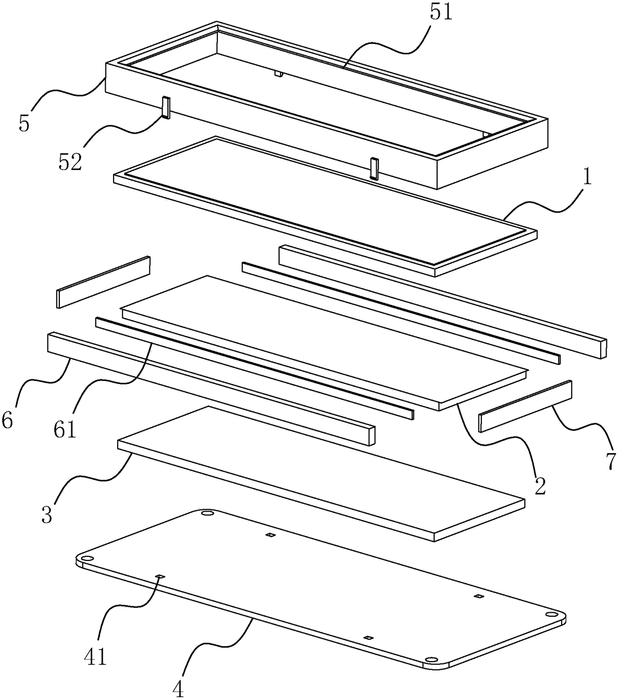
一种抗低温型液晶屏
授权日
2018-09-07
公开(公告)号
CN207833165U
申请日
2018-02-02
公开(公告)日
2018-09-07
当前申请(专利权)人
北京华田信科电子有限公司
发明人
王珊 | 索志雪
简单同族
CN207833165U
简单同族成员数量
1
简单同族被引用专利总数
0
诉讼案件数
0
法律状态/事件
授权
抱歉,您的浏览器不支持PDF预览,请点击链接下载PDF文件