专利数据库
统计分析
产业报告
专利数据监控
产业人才
行业动态
产业政策法规
维权援助
个人中心
详情
文本
图像
标题
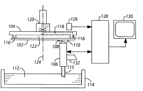
Method and apparatus for ultrasonic scanning of a fabrication wafer
授权日
2010-02-16
公开(公告)号
US7661315
申请日
2004-05-24
公开(公告)日
2010-02-16
当前申请(专利权)人
SONIX, INC.
发明人
BUSCH, RALPH E. | KRAUSMAN, DENNIS
简单同族
US20050257617A1 | US7661315
简单同族成员数量
2
简单同族被引用专利总数
34
诉讼案件数
0
法律状态/事件
授权 | 权利转移
抱歉,您的浏览器不支持PDF预览,请点击链接下载PDF文件