专利数据库
统计分析
产业报告
专利数据监控
产业人才
行业动态
产业政策法规
维权援助
个人中心
详情
文本
图像
标题
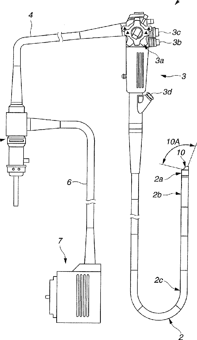
Ultrasound probe and ultrasound endoscope including ultrasound probe
授权日
1900-01-01
公开(公告)号
US20090093725A1
申请日
2008-12-10
公开(公告)日
2009-04-09
当前申请(专利权)人
OLYMPUS MEDICAL SYSTEMS CORP.
发明人
SATO, SUNAO | WAKABAYASHI, KATSUHIRO | MIZUNUMA, AKIKO | FUJIMURA, TAKANAO | SAWADA, YUKIHIKO | IMAHASHI, TAKUYA | ADACHI, HIDEO
简单同族
CN101466314A | CN101466314B | EP2027818A1 | EP2027818A4 | EP2027818B1 | JP2007330351A | JP2007330351A5 | JP4980653B2 | US20090093725A1 | WO2007145182A1
简单同族成员数量
10
简单同族被引用专利总数
24
诉讼案件数
0
法律状态/事件
撤回 | 权利转移
抱歉,您的浏览器不支持PDF预览,请点击链接下载PDF文件