专利数据库
统计分析
产业报告
专利数据监控
产业人才
行业动态
产业政策法规
维权援助
个人中心
详情
文本
图像
标题
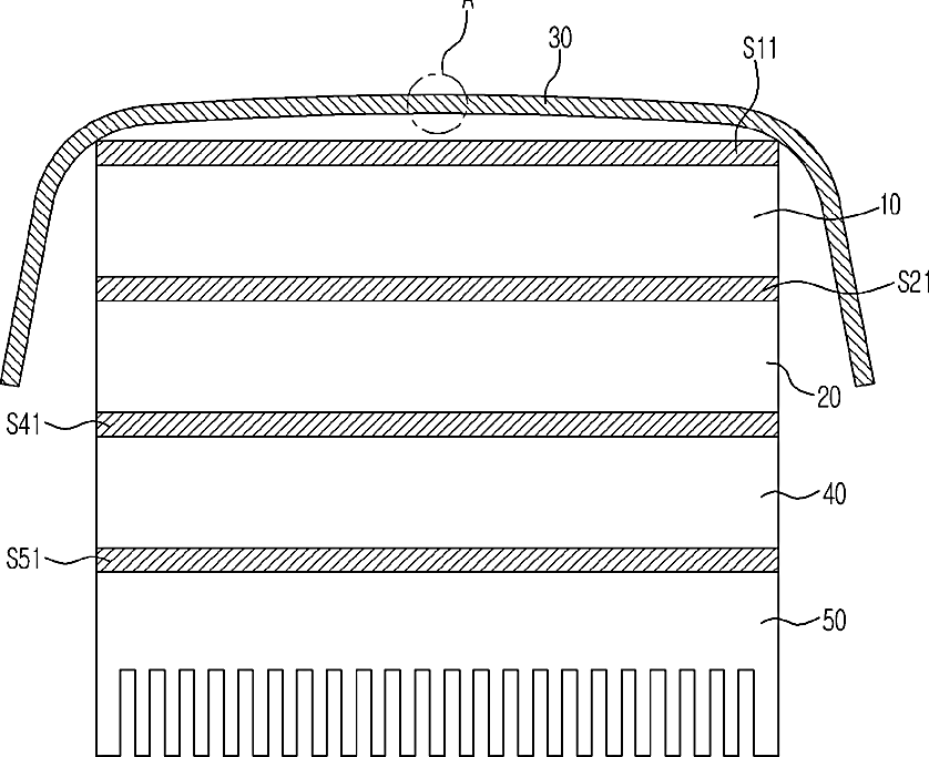
Ultrasonic probe and manufacturing method thereof
授权日
1900-01-01
公开(公告)号
US20150011889A1
申请日
2014-07-08
公开(公告)日
2015-01-08
当前申请(专利权)人
SAMSUNG MEDISON CO., LTD.
发明人
LEE, SUNG JAE
简单同族
KR1020150006519A | US20150011889A1 | WO2015005586A1
简单同族成员数量
3
简单同族被引用专利总数
20
诉讼案件数
0
法律状态/事件
撤回 | 权利转移
抱歉,您的浏览器不支持PDF预览,请点击链接下载PDF文件