专利数据库
统计分析
产业报告
专利数据监控
产业人才
行业动态
产业政策法规
维权援助
个人中心
详情
文本
图像
标题
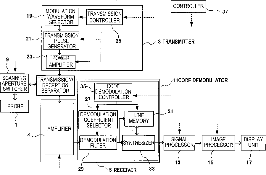
Ultrasonographic method and ultrasonographic device
授权日
1900-01-01
公开(公告)号
US20060173305A1
申请日
2003-12-26
公开(公告)日
2006-08-03
当前申请(专利权)人
HITACHI MEDICAL CORPORTION
发明人
ASAFUSA, KATSUNORI | KANDA, HIROSHI
简单同族
CN100475148C | CN1756509A | DE60331861D1 | EP1582149A1 | EP1582149A4 | EP1582149B1 | JP2004209087A | JP4269145B2 | US20060173305A1 | US7354400 | WO2004060167A1
简单同族成员数量
11
简单同族被引用专利总数
69
诉讼案件数
0
法律状态/事件
未缴年费 | 权利转移
抱歉,您的浏览器不支持PDF预览,请点击链接下载PDF文件