专利数据库
统计分析
产业报告
专利数据监控
产业人才
行业动态
产业政策法规
维权援助
个人中心
详情
文本
图像
标题
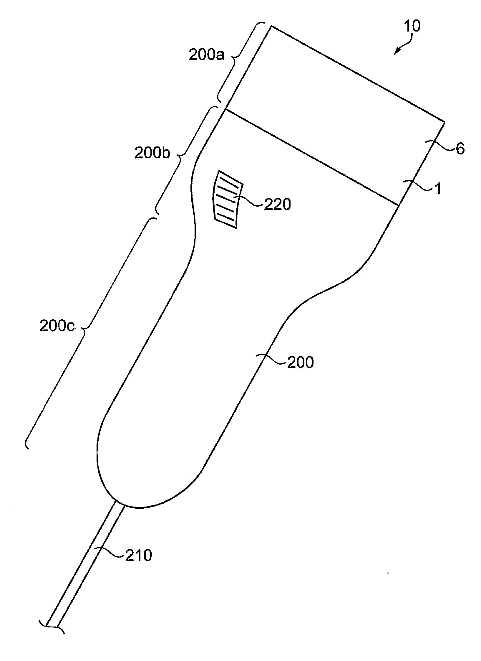
Ultrasonic probe and ultrasonic inspection apparatus
授权日
2016-10-04
公开(公告)号
US9456803
申请日
2015-09-21
公开(公告)日
2016-10-04
当前申请(专利权)人
SEIKO EPSON CORPORATION
发明人
NAKAMURA, TOMOAKI | HOSOMI, HIROAKI
简单同族
CN103512649A | CN103512649B | JP2014000122A | JP2014000122A5 | JP6065421B2 | US20130338508A1 | US20160007963A1 | US9168025 | US9456803
简单同族成员数量
9
简单同族被引用专利总数
19
诉讼案件数
0
法律状态/事件
授权 | 权利转移
抱歉,您的浏览器不支持PDF预览,请点击链接下载PDF文件