专利数据库
统计分析
产业报告
专利数据监控
产业人才
行业动态
产业政策法规
维权援助
个人中心
详情
文本
图像
标题
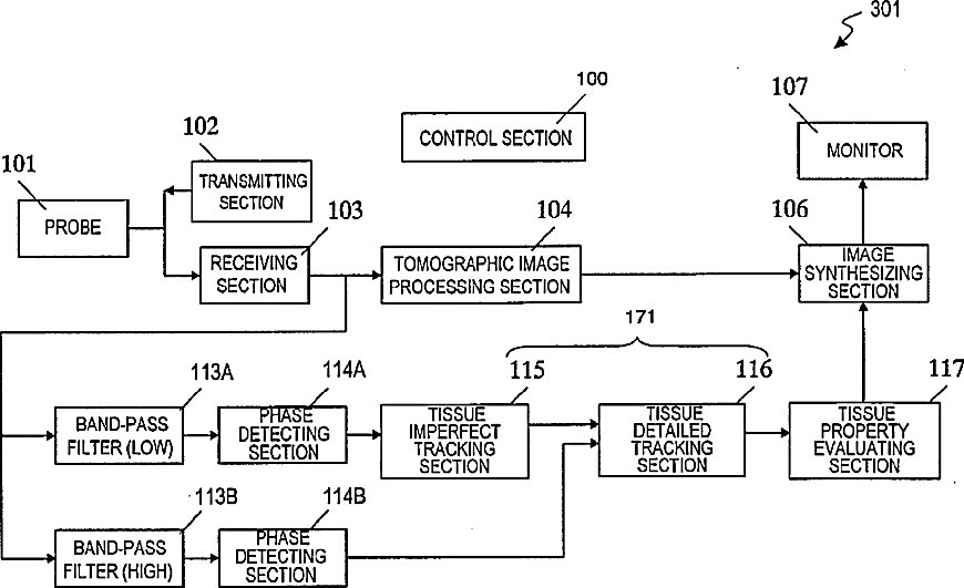
Ultrasonic diagnostic apparatus
授权日
1900-01-01
公开(公告)号
US20070213614A1
申请日
2005-08-30
公开(公告)日
2007-09-13
当前申请(专利权)人
PANASONIC CORPORATION
发明人
SUZUKI, TAKAO | HAGIWARA, HISASHI | KATO, MAKOTO
简单同族
JPWO2006025364A1 | US20070213614A1 | WO2006025364A1
简单同族成员数量
3
简单同族被引用专利总数
22
诉讼案件数
0
法律状态/事件
撤回 | 权利转移
抱歉,您的浏览器不支持PDF预览,请点击链接下载PDF文件