专利数据库
统计分析
产业报告
专利数据监控
产业人才
行业动态
产业政策法规
维权援助
个人中心
详情
文本
图像
标题
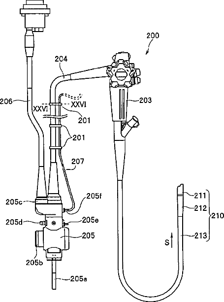
Ultrasound endoscope
授权日
1900-01-01
公开(公告)号
US20130158410A1
申请日
2013-02-12
公开(公告)日
2013-06-20
当前申请(专利权)人
OLYMPUS CORPORATION
发明人
OHGISHI, KOZUE | IRIE, KEI
简单同族
CN103269645A | CN103269645B | EP2641542A1 | EP2641542A4 | EP2641542B1 | EP2641542B9 | JP5253691B1 | JPWO2013035374A1 | US20130158410A1 | US8696583 | WO2013035374A1
简单同族成员数量
11
简单同族被引用专利总数
26
诉讼案件数
0
法律状态/事件
授权 | 权利转移
抱歉,您的浏览器不支持PDF预览,请点击链接下载PDF文件