专利数据库
统计分析
产业报告
专利数据监控
产业人才
行业动态
产业政策法规
维权援助
个人中心
详情
文本
图像
标题
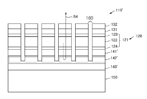
Ultrasonic transducer, ultrasonic probe, and ultrasound image diagnosis apparatus
授权日
2015-12-22
公开(公告)号
US9219220
申请日
2012-11-29
公开(公告)日
2015-12-22
当前申请(专利权)人
SAMSUNG ELECTRONICS CO., LTD.
发明人
KO, HYUN-PHILL | KIM, DONG-HYUN
简单同族
CN103181786A | CN103181786B | EP2610861A2 | EP2610861A3 | KR101477544B1 | KR1020130078972A | US20130169818A1 | US9219220
简单同族成员数量
8
简单同族被引用专利总数
21
诉讼案件数
0
法律状态/事件
授权 | 权利转移
抱歉,您的浏览器不支持PDF预览,请点击链接下载PDF文件