专利数据库
统计分析
产业报告
专利数据监控
产业人才
行业动态
产业政策法规
维权援助
个人中心
详情
文本
图像
标题
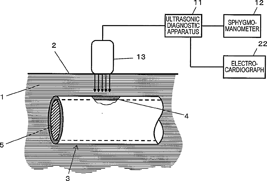
Ultrasonic diagnosis device and ultrasonic probe for use in ultrasonic diagnosis device
授权日
1900-01-01
公开(公告)号
US20100217125A1
申请日
2008-06-02
公开(公告)日
2010-08-26
当前申请(专利权)人
PANASONIC CORPORATION
发明人
KADOKURA, MASAHIKO | KATO, MAKOTO
简单同族
CN101677810A | CN101677810B | CN102579082A | CN102579082B | EP2163202A1 | EP2163202A4 | US20100217125A1 | US20130245448A1 | US8439839 | WO2008149540A1
简单同族成员数量
10
简单同族被引用专利总数
51
诉讼案件数
0
法律状态/事件
授权 | 权利转移
抱歉,您的浏览器不支持PDF预览,请点击链接下载PDF文件