专利数据库
统计分析
产业报告
专利数据监控
产业人才
行业动态
产业政策法规
维权援助
个人中心
详情
文本
图像
标题
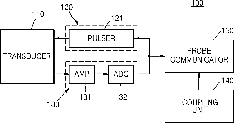
Probe device, server, system for diagnosing ultrasound image, and method of processing ultrasound image
授权日
1900-01-01
公开(公告)号
US20130184587A1
申请日
2013-01-11
公开(公告)日
2013-07-18
当前申请(专利权)人
SAMSUNG ELECTRONICS CO., LTD.
发明人
EOM, JAE-YOUNG | CHO, JEONG
简单同族
BR102013001092A2 | CN103202712A | CN103202712B | EP2617360A1 | EP2617360B1 | EP3058876A2 | EP3058876A3 | KR101562204B1 | KR1020130084467A | RU2014133787A | RU2627638C2 | US20130184587A1 | WO2013109044A1
简单同族成员数量
13
简单同族被引用专利总数
47
诉讼案件数
0
法律状态/事件
实质审查 | 权利转移
抱歉,您的浏览器不支持PDF预览,请点击链接下载PDF文件