专利数据库
统计分析
产业报告
专利数据监控
产业人才
行业动态
产业政策法规
维权援助
个人中心
详情
文本
图像
标题
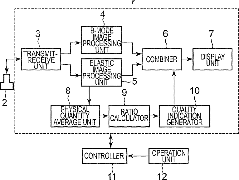
Ultrasonic diagnostic apparatus
授权日
1900-01-01
公开(公告)号
US20110054314A1
申请日
2010-08-26
公开(公告)日
2011-03-03
当前申请(专利权)人
GE MEDICAL SYSTEMS GLOBAL TECHNOLOGY COMPANY, LLC
发明人
TANIGAWA, SHUNICHIRO | MIYAMA, KOJI | FUNAYA, SEIJI
简单同族
CN101999907A | CN101999907B | JP2011045457A | JP5484826B2 | US20110054314A1 | US8684931
简单同族成员数量
6
简单同族被引用专利总数
31
诉讼案件数
0
法律状态/事件
授权 | 权利转移
抱歉,您的浏览器不支持PDF预览,请点击链接下载PDF文件