专利数据库
统计分析
产业报告
专利数据监控
产业人才
行业动态
产业政策法规
维权援助
个人中心
详情
文本
图像
标题
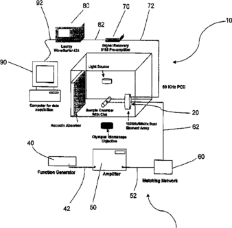
Ultrasound-mediated inducement, detection, and enhancement of stable cavitation
授权日
2017-06-13
公开(公告)号
US9675820
申请日
2016-01-28
公开(公告)日
2017-06-13
当前申请(专利权)人
UNIVERSITY OF CINCINNATI
发明人
HOLLAND, CHRISTY K. | DATTA, SAURABH | MAST, T. DOUGLAS | IVANCEVICH, NIKOLAS | HITCHCOCK, KATHRYN ELIZABETH | HAWORTH, KEVIN
简单同族
CA2756038A1 | CA2973013A1 | EP2413806A1 | EP2413806A4 | EP3210540A1 | US20120130288A1 | US20160144203A1 | US9675820 | WO2010108104A1
简单同族成员数量
9
简单同族被引用专利总数
24
诉讼案件数
0
法律状态/事件
授权 | 权利转移
抱歉,您的浏览器不支持PDF预览,请点击链接下载PDF文件