专利数据库
统计分析
产业报告
专利数据监控
产业人才
行业动态
产业政策法规
维权援助
个人中心
详情
文本
图像
标题
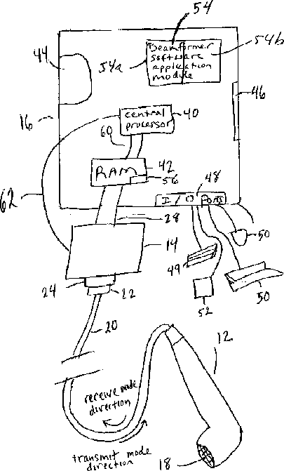
System and method for interfacing an ultrasound transducer with a computing device performing beamforming processing
授权日
1900-01-01
公开(公告)号
US20040064044A1
申请日
2002-09-30
公开(公告)日
2004-04-01
当前申请(专利权)人
KONINKLIJKE PHILIPS ELECTRONICS
发明人
BROCK-FISHER, GEORGE
简单同族
JP2004121847A | US20040064044A1 | US6716171
简单同族成员数量
3
简单同族被引用专利总数
27
诉讼案件数
0
法律状态/事件
未缴年费 | 权利转移
抱歉,您的浏览器不支持PDF预览,请点击链接下载PDF文件