专利数据库
统计分析
产业报告
专利数据监控
产业人才
行业动态
产业政策法规
维权援助
个人中心
详情
文本
图像
标题
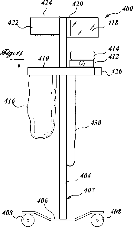
Ultrasound gel dispensing and probe sanitizing station
授权日
1900-01-01
公开(公告)号
US20150245810A1
申请日
2014-03-03
公开(公告)日
2015-09-03
当前申请(专利权)人
DBMEDX INC.
发明人
SHINE, DAVID B. | BARNARD, WILLIAM L. | QUIRK, WILLIAM | MARTY, WILLIAM A.
简单同族
US20150245810A1
简单同族成员数量
1
简单同族被引用专利总数
0
诉讼案件数
0
法律状态/事件
撤回 | 权利转移
抱歉,您的浏览器不支持PDF预览,请点击链接下载PDF文件