专利数据库
统计分析
产业报告
专利数据监控
产业人才
行业动态
产业政策法规
维权援助
个人中心
详情
文本
图像
标题
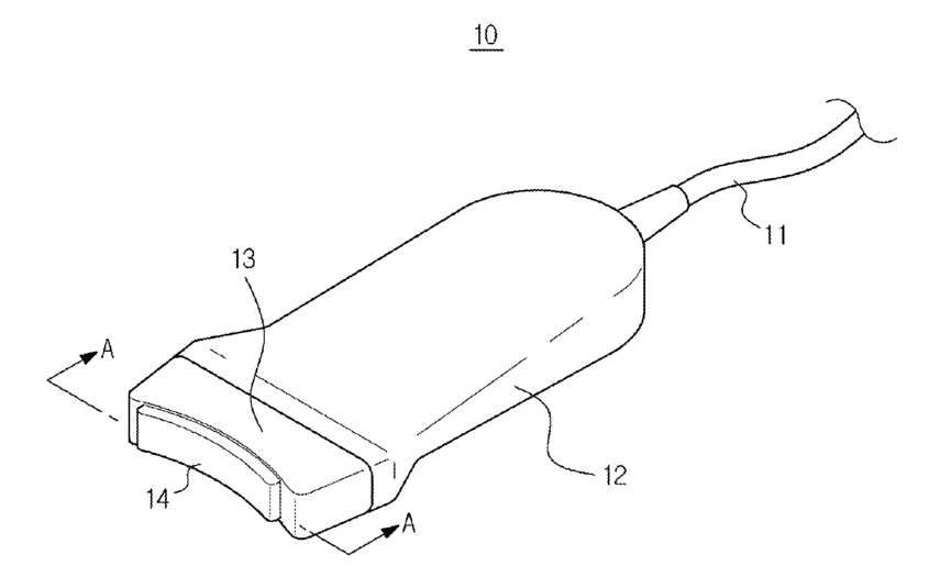
Probe for ultrasonic diagnostic apparatus
授权日
1900-01-01
公开(公告)号
US20180000451A1
申请日
2017-08-24
公开(公告)日
2018-01-04
当前申请(专利权)人
SAMSUNG ELECTRONICS CO., LTD.
发明人
CHOI, JIN YOUNG
简单同族
CN103156641A | CN103156641B | CN105708499A | CN105708499B | KR101362378B1 | KR1020130066821A | US10335117 | US20130150725A1 | US20160287212A1 | US20180000451A1 | US20190274661A1 | US9763643 | US9808220
简单同族成员数量
13
简单同族被引用专利总数
18
诉讼案件数
0
法律状态/事件
授权
抱歉,您的浏览器不支持PDF预览,请点击链接下载PDF文件