专利数据库
统计分析
产业报告
专利数据监控
产业人才
行业动态
产业政策法规
维权援助
个人中心
详情
文本
图像
标题
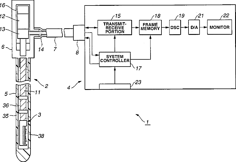
Ultrasonic probe and ultrasonic diagnostic equipment
授权日
2006-05-30
公开(公告)号
US7052462
申请日
2002-10-24
公开(公告)日
2006-05-30
当前申请(专利权)人
OLYMPUS CORPORATION
发明人
FUKUDA, HIROSHI | OMURA, MASAYOSHI
简单同族
US20040082858A1 | US7052462
简单同族成员数量
2
简单同族被引用专利总数
19
诉讼案件数
0
法律状态/事件
授权 | 权利转移
抱歉,您的浏览器不支持PDF预览,请点击链接下载PDF文件