专利数据库
统计分析
产业报告
专利数据监控
产业人才
行业动态
产业政策法规
维权援助
个人中心
详情
文本
图像
标题
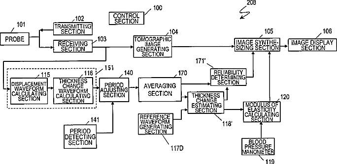
Ultrasonograph that determines tissue properties utilizing a reference waveform
授权日
2012-10-30
公开(公告)号
US8298143
申请日
2006-05-25
公开(公告)日
2012-10-30
当前申请(专利权)人
KONICA MINOLTA, INC. | TOHOKU UNIVERSITY
发明人
KANAI, HIROSHI | HASEGAWA, HIDEYUKI | HAGIWARA, HISASHI
简单同族
EP1889571A1 | EP1889571A4 | US20090318806A1 | US8298143 | WO2006129545A1
简单同族成员数量
5
简单同族被引用专利总数
24
诉讼案件数
0
法律状态/事件
授权 | 权利转移
抱歉,您的浏览器不支持PDF预览,请点击链接下载PDF文件